Máy đo 2D hay máy phóng hình, máy chiếu biên dạng là một loại máy đo quang học, nguyên tắc đo tương tự như của máy đo hiển vi. Bằng cách đặt đối tượng cần đo trên bàn máy và chiếu ánh sáng từ bên dưới, đường viền của đối tượng sẽ được chiếu trên màn hình. Một số máy đo 2D cỡ lớn có đường kính màn hình lên tới hơn 1m.

Máy phóng hình tiêu chuẩn PJ-A3000 Series 302 có bàn đo phẳng với các model: PJ-A3005D-50, PJ-A3010F-100, PJ-A3005F-150, PJ-A3010F-200 là dòng máy đo 2D phổ biến nhất của Mitutoyo
Ngoài ra còn có dòng Máy đo 2D cao cấp PJ-H30 Series 303 (có bàn đo phẳng)
A. Ứng dụng của máy đo 2D:
1. Máy đo 2D có một số ưu điểm như sau:
2. Đối với các nhược điểm, hầu như nó không hề ảnh hưởng đến quá trình đo hay độ chính xác của phép đo cuối cùng. Một số nhược điểm của máy đo 2D như:

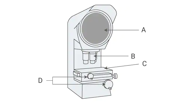
Một máy đo 2D có cấu tạo cơ bản bao gồm các bộ phận sau:
Máy đo 2D hay máy phóng hình, máy chiếu biên dạng là một loại máy đo quang học, nguyên tắc đo tương tự như của máy đo hiển vi. Bằng cách đặt đối tượng cần đo trên bàn máy và chiếu ánh sáng từ bên dưới, đường viền của đối tượng sẽ được chiếu trên màn hình. Một số máy đo 2D cỡ lớn có đường kính màn hình lên tới hơn 1m.

Máy phóng hình tiêu chuẩn PJ-A3000 Series 302 có bàn đo phẳng với các model: PJ-A3005D-50, PJ-A3010F-100, PJ-A3005F-150, PJ-A3010F-200 là dòng máy đo 2D phổ biến nhất của Mitutoyo
Ngoài ra còn có dòng Máy đo 2D cao cấp PJ-H30 Series 303 (có bàn đo phẳng)
A. Ứng dụng của máy đo 2D:
1. Máy đo 2D có một số ưu điểm như sau:
2. Đối với các nhược điểm, hầu như nó không hề ảnh hưởng đến quá trình đo hay độ chính xác của phép đo cuối cùng. Một số nhược điểm của máy đo 2D như:

Một máy đo 2D có cấu tạo cơ bản bao gồm các bộ phận sau:
Máy đo 2D hay máy phóng hình, máy chiếu biên dạng là một loại máy đo quang học, nguyên tắc đo tương tự như của máy đo hiển vi. Bằng cách đặt đối tượng cần đo trên bàn máy và chiếu ánh sáng từ bên dưới, đường viền của đối tượng sẽ được chiếu trên màn hình. Một số máy đo 2D cỡ lớn có đường kính màn hình lên tới hơn 1m.

Máy phóng hình tiêu chuẩn PJ-A3000 Series 302 có bàn đo phẳng với các model: PJ-A3005D-50, PJ-A3010F-100, PJ-A3005F-150, PJ-A3010F-200 là dòng máy đo 2D phổ biến nhất của Mitutoyo
Ngoài ra còn có dòng Máy đo 2D cao cấp PJ-H30 Series 303 (có bàn đo phẳng)
A. Ứng dụng của máy đo 2D:
1. Máy đo 2D có một số ưu điểm như sau:
2. Đối với các nhược điểm, hầu như nó không hề ảnh hưởng đến quá trình đo hay độ chính xác của phép đo cuối cùng. Một số nhược điểm của máy đo 2D như:

Một máy đo 2D có cấu tạo cơ bản bao gồm các bộ phận sau:
Máy đo 2D hay máy phóng hình, máy chiếu biên dạng là một loại máy đo quang học, nguyên tắc đo tương tự như của máy đo hiển vi. Bằng cách đặt đối tượng cần đo trên bàn máy và chiếu ánh sáng từ bên dưới, đường viền của đối tượng sẽ được chiếu trên màn hình. Một số máy đo 2D cỡ lớn có đường kính màn hình lên tới hơn 1m.

Máy phóng hình tiêu chuẩn PJ-A3000 Series 302 có bàn đo phẳng với các model: PJ-A3005D-50, PJ-A3010F-100, PJ-A3005F-150, PJ-A3010F-200 là dòng máy đo 2D phổ biến nhất của Mitutoyo
Ngoài ra còn có dòng Máy đo 2D cao cấp PJ-H30 Series 303 (có bàn đo phẳng)
A. Ứng dụng của máy đo 2D:
1. Máy đo 2D có một số ưu điểm như sau:
2. Đối với các nhược điểm, hầu như nó không hề ảnh hưởng đến quá trình đo hay độ chính xác của phép đo cuối cùng. Một số nhược điểm của máy đo 2D như:

Một máy đo 2D có cấu tạo cơ bản bao gồm các bộ phận sau:
Vui lòng cung cấp đường link hoặc mã đặt hàng của sản phẩm khi gửi yêu cầu
Vui lòng cung cấp đường link hoặc mã đặt hàng của sản phẩm khi gửi yêu cầu